ГОСТ IEC 60947-7-1-2016 Аппаратура распределения и управления низковольтная. Часть 7-1. Электрооборудование вспомогательное. Колодки клеммные для медных проводников

Категории ГОСТ IEC 60947-7-1-2016 по ОКС:
Статус документа:
действует, введён в действие 01.07.2018
Название на английском языке:
Low-voltage switchgear and controlgear. Part 7-1. Ancillary equipment. Terminal blocks for cooper conductors
Дата актуализации информации по стандарту:
30.10.2025, в 09:40 (менее 3 месяцев назад)
Вид стандарта:
Стандарты на продукцию (услуги)
Дата начала действия ГОСТа:
2018-07-01
Дата последнего издания документа:
2017-06-01
Коды документа ГОСТ IEC 60947-7-1-2016:
Код КГС:
Е17
Число страниц:
29
Назначение ГОСТ IEC 60947-7-1-2016:
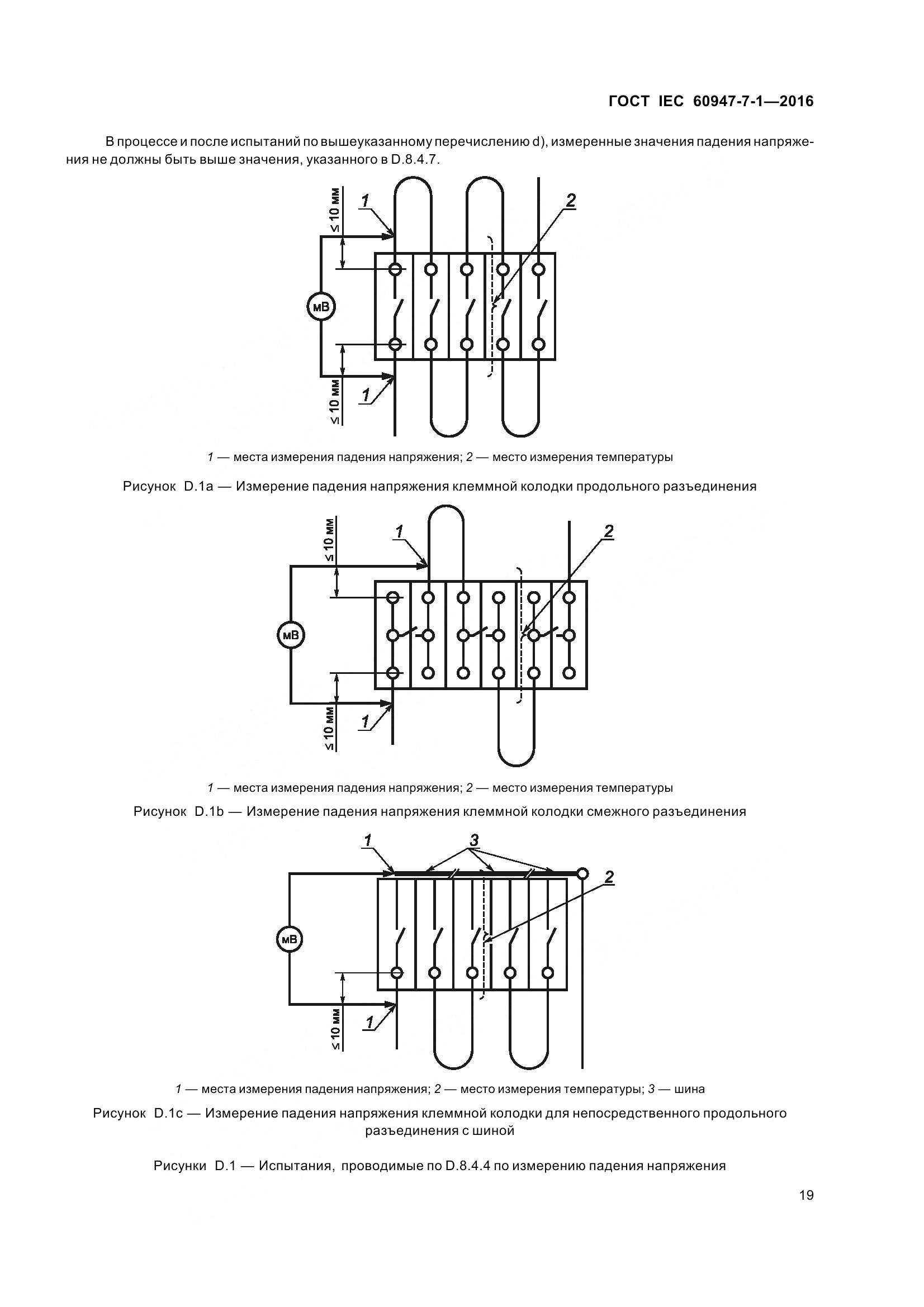
Настоящий стандарт формулирует требования к клеммным колодкам с выводами винтового или безвинтового типа преимущественно общепромышленного или аналогичного назначения с креплением к панели, обеспечивающим электрическое и механическое соединение медных проводников. Стандарт распространяется на клеммные колодки, предназначенные для присоединения круглых медных проводников со специальной подготовкой или без нее, номинальным сечением от 0,2 до 300 мм2 (AWG 24/600 kcmil), применяемые в цепях на номинальное напряжение до 1000 В переменного тока частотой до 1000 Гц или 1500 В постоянного тока
Документ разработан орг-ей:
Федеральное агентство по техническому регулированию и метрологии (Росстандарт)
Документ принят орг-ей:
Межгосударственный Совет по стандартизации метрологии и сертификации, протокол №92-П
Ключевые слова документа:
колодки клеммные, присоединение медных проводников

Скачать ГОСТ IEC 60947-7-1-2016 вы можете в следующих версиях:

Тип файла:
Дата добавления:
Загрузок:
Размер:
Тип файла:
PDF с изображениями
Добавлен:
20/11/2025 14:35
Скачиваний:
5
Размер файла:
7.96 Мб
  • ГОСТ IEC 60947-7-1-2016, страница 1 страница 1
  • ГОСТ IEC 60947-7-1-2016, страница 2 страница 2
  • ГОСТ IEC 60947-7-1-2016, страница 3 страница 3
  • ГОСТ IEC 60947-7-1-2016, страница 4 страница 4
  • ГОСТ IEC 60947-7-1-2016, страница 5 страница 5
  • ГОСТ IEC 60947-7-1-2016, страница 6 страница 6
  • ГОСТ IEC 60947-7-1-2016, страница 7 страница 7
  • ГОСТ IEC 60947-7-1-2016, страница 8 страница 8
  • ГОСТ IEC 60947-7-1-2016, страница 9 страница 9
  • ГОСТ IEC 60947-7-1-2016, страница 10 страница 10
  • ГОСТ IEC 60947-7-1-2016, страница 11 страница 11
  • ГОСТ IEC 60947-7-1-2016, страница 12 страница 12
  • ГОСТ IEC 60947-7-1-2016, страница 13 страница 13
  • ГОСТ IEC 60947-7-1-2016, страница 14 страница 14
  • ГОСТ IEC 60947-7-1-2016, страница 15 страница 15
  • ГОСТ IEC 60947-7-1-2016, страница 16 страница 16
  • ГОСТ IEC 60947-7-1-2016, страница 17 страница 17
  • ГОСТ IEC 60947-7-1-2016, страница 18 страница 18
  • ГОСТ IEC 60947-7-1-2016, страница 19 страница 19
  • ГОСТ IEC 60947-7-1-2016, страница 20 страница 20
  • ГОСТ IEC 60947-7-1-2016, страница 21 страница 21
  • ГОСТ IEC 60947-7-1-2016, страница 22 страница 22
  • ГОСТ IEC 60947-7-1-2016, страница 23 страница 23
  • ГОСТ IEC 60947-7-1-2016, страница 24 страница 24
  • ГОСТ IEC 60947-7-1-2016, страница 25 страница 25
  • ГОСТ IEC 60947-7-1-2016, страница 26 страница 26
  • ГОСТ IEC 60947-7-1-2016, страница 27 страница 27
  • ГОСТ IEC 60947-7-1-2016, страница 28 страница 28
  • ГОСТ IEC 60947-7-1-2016, страница 29 страница 29