ГОСТ IEC 60332-3-23-2024 Испытания электрических и оптических кабелей в условиях воздействия пламени. Часть 3-23. Испытание на распространение пламени по вертикально расположенным пучкам проводов или кабелей. Категория B

Категории ГОСТ IEC 60332-3-23-2024 по ОКС:
Статус документа:
принят, введён в действие 01.09.2025
Название на английском языке:
Tests on electric and optical fibre cables under fire conditions. Part 3-23. Test for flame spread of vertically-mounted bunched wires or cables. Category B
Дата актуализации информации по стандарту:
26.08.2025, в 20:17 (менее 3 месяцев назад)
Вид стандарта:
временно не известен
Дата начала действия ГОСТа:
2025-09-01
Число страниц:
16
Назначение ГОСТ IEC 60332-3-23-2024:
не указано
Нормативные ссылки, связанные с ГОСТ IEC 60332-3-23-2024:

Скачать ГОСТ IEC 60332-3-23-2024 вы можете в следующих версиях:

В данный момент версий документа для скачивания не добавлено.

Мы стараемся пополнять базу документов еженедельно и из разных источников, в обозримом будущем версии для этого ГОСТа появятся.

Вы можете просмотреть online текст стандарта ГОСТ IEC 60332-3-23-2024

Просмотреть текст ГОСТ IEC 60332-3-23-2024

Текст стандарта

  • ГОСТ IEC 60332-3-23-2024, страница 1 страница 1
  • ГОСТ IEC 60332-3-23-2024, страница 2 страница 2
  • ГОСТ IEC 60332-3-23-2024, страница 3 страница 3
  • ГОСТ IEC 60332-3-23-2024, страница 4 страница 4
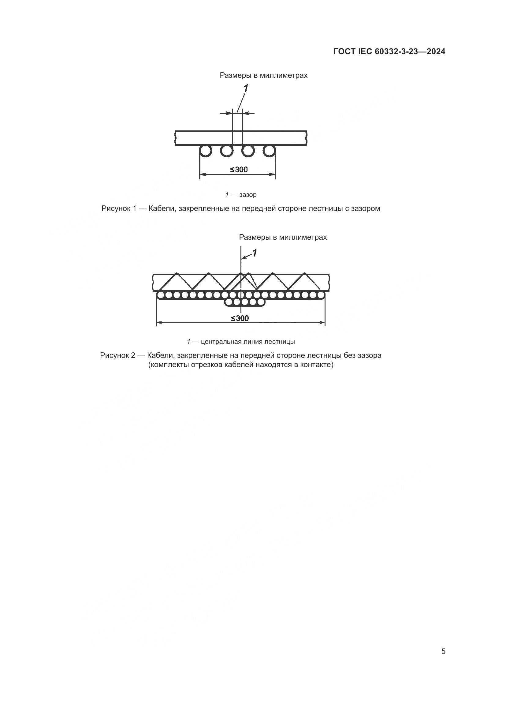
  • ГОСТ IEC 60332-3-23-2024, страница 5 страница 5
  • ГОСТ IEC 60332-3-23-2024, страница 6 страница 6
  • ГОСТ IEC 60332-3-23-2024, страница 7 страница 7
  • ГОСТ IEC 60332-3-23-2024, страница 8 страница 8
  • ГОСТ IEC 60332-3-23-2024, страница 9 страница 9
  • ГОСТ IEC 60332-3-23-2024, страница 10 страница 10
  • ГОСТ IEC 60332-3-23-2024, страница 11 страница 11
  • ГОСТ IEC 60332-3-23-2024, страница 12 страница 12
  • ГОСТ IEC 60332-3-23-2024, страница 13 страница 13
  • ГОСТ IEC 60332-3-23-2024, страница 14 страница 14
  • ГОСТ IEC 60332-3-23-2024, страница 15 страница 15
  • ГОСТ IEC 60332-3-23-2024, страница 16 страница 16