ГОСТ Р 55078-2012 Трубы из реактопластов, армированных стекловолокном. Царги стволов для дымовых и газоотводящих труб. Технические условия

Категории ГОСТ Р 55078-2012 по ОКС:
Статус документа:
действует, введён в действие 01.01.2014
Название на английском языке:
Fiberglass reinforced thermosetting plastic pipes. Glass reinforced thermosetting plastics cylinder shells of chimney and flue-pipes. Specifications
Дата актуализации информации по стандарту:
22.10.2025, в 10:31 (менее 3 месяцев назад)
Вид стандарта:
временно не известен
Дата начала действия ГОСТа:
2014-01-01
Коды документа ГОСТ Р 55078-2012:
Код ОКП:
229641;229690
Число страниц:
48
Назначение ГОСТ Р 55078-2012:
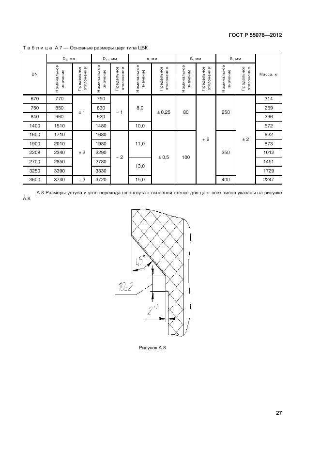
Настоящий стандарт устанавливает требования к царгам из реактопластов, армированных стекловолокном, (далее - царги) предназначенным для использования в газоотводящих стволах дымовых и вытяжных труб, обеспечивающих отвод газов, газовоздушных смесей, дыма, имеющих температуру до 180 °С. Настоящий стандарт устанавливает типы, технические требования, показатели и характеристики царг, требования к методам контроля, включая средства и порядок выполнения испытаний и измерений при определении показателей и характеристик царг
Документ разработан орг-ей:
Федеральное агентство по техническому регулированию и метрологии (Росстандарт)
Ключевые слова документа:
армированных стекловолокном, вытяжная труба, газоотводящий ствол, дымовая труба, методы контроля, показатели и характеристики, технические требования, типы, трубы из реактопластов, царги

Скачать ГОСТ Р 55078-2012 вы можете в следующих версиях:

Тип файла:
Дата добавления:
Загрузок:
Размер:
Тип файла:
PDF с изображениями
Добавлен:
20/11/2025 16:17
Скачиваний:
2
Размер файла:
2.84 Мб
  • ГОСТ Р 55078-2012, страница 1 страница 1
  • ГОСТ Р 55078-2012, страница 2 страница 2
  • ГОСТ Р 55078-2012, страница 3 страница 3
  • ГОСТ Р 55078-2012, страница 4 страница 4
  • ГОСТ Р 55078-2012, страница 5 страница 5
  • ГОСТ Р 55078-2012, страница 6 страница 6
  • ГОСТ Р 55078-2012, страница 7 страница 7
  • ГОСТ Р 55078-2012, страница 8 страница 8
  • ГОСТ Р 55078-2012, страница 9 страница 9
  • ГОСТ Р 55078-2012, страница 10 страница 10
  • ГОСТ Р 55078-2012, страница 11 страница 11
  • ГОСТ Р 55078-2012, страница 12 страница 12
  • ГОСТ Р 55078-2012, страница 13 страница 13
  • ГОСТ Р 55078-2012, страница 14 страница 14
  • ГОСТ Р 55078-2012, страница 15 страница 15
  • ГОСТ Р 55078-2012, страница 16 страница 16
  • ГОСТ Р 55078-2012, страница 17 страница 17
  • ГОСТ Р 55078-2012, страница 18 страница 18
  • ГОСТ Р 55078-2012, страница 19 страница 19
  • ГОСТ Р 55078-2012, страница 20 страница 20
  • ГОСТ Р 55078-2012, страница 21 страница 21
  • ГОСТ Р 55078-2012, страница 22 страница 22
  • ГОСТ Р 55078-2012, страница 23 страница 23
  • ГОСТ Р 55078-2012, страница 24 страница 24
  • ГОСТ Р 55078-2012, страница 25 страница 25
  • ГОСТ Р 55078-2012, страница 26 страница 26
  • ГОСТ Р 55078-2012, страница 27 страница 27
  • ГОСТ Р 55078-2012, страница 28 страница 28
  • ГОСТ Р 55078-2012, страница 29 страница 29
  • ГОСТ Р 55078-2012, страница 30 страница 30
  • ГОСТ Р 55078-2012, страница 31 страница 31
  • ГОСТ Р 55078-2012, страница 32 страница 32
  • ГОСТ Р 55078-2012, страница 33 страница 33
  • ГОСТ Р 55078-2012, страница 34 страница 34
  • ГОСТ Р 55078-2012, страница 35 страница 35
  • ГОСТ Р 55078-2012, страница 36 страница 36
  • ГОСТ Р 55078-2012, страница 37 страница 37
  • ГОСТ Р 55078-2012, страница 38 страница 38
  • ГОСТ Р 55078-2012, страница 39 страница 39
  • ГОСТ Р 55078-2012, страница 40 страница 40
  • ГОСТ Р 55078-2012, страница 41 страница 41
  • ГОСТ Р 55078-2012, страница 42 страница 42
  • ГОСТ Р 55078-2012, страница 43 страница 43
  • ГОСТ Р 55078-2012, страница 44 страница 44
  • ГОСТ Р 55078-2012, страница 45 страница 45
  • ГОСТ Р 55078-2012, страница 46 страница 46
  • ГОСТ Р 55078-2012, страница 47 страница 47
  • ГОСТ Р 55078-2012, страница 48 страница 48