ГОСТ Р 54125-2010 Безопасность машин и оборудования. Принципы обеспечения безопасности при проектировании

Категории ГОСТ Р 54125-2010 по ОКС:
Статус документа:
действует, введён в действие 01.06.2012
Название на английском языке:
Safety of machinery and equipment. Principles for safety ensuring while designing
Дата актуализации информации по стандарту:
20.10.2025, в 13:28 (менее 3 месяцев назад)
Вид стандарта:
временно не известен
Дата начала действия ГОСТа:
2012-06-01
Число страниц:
58
Назначение ГОСТ Р 54125-2010:
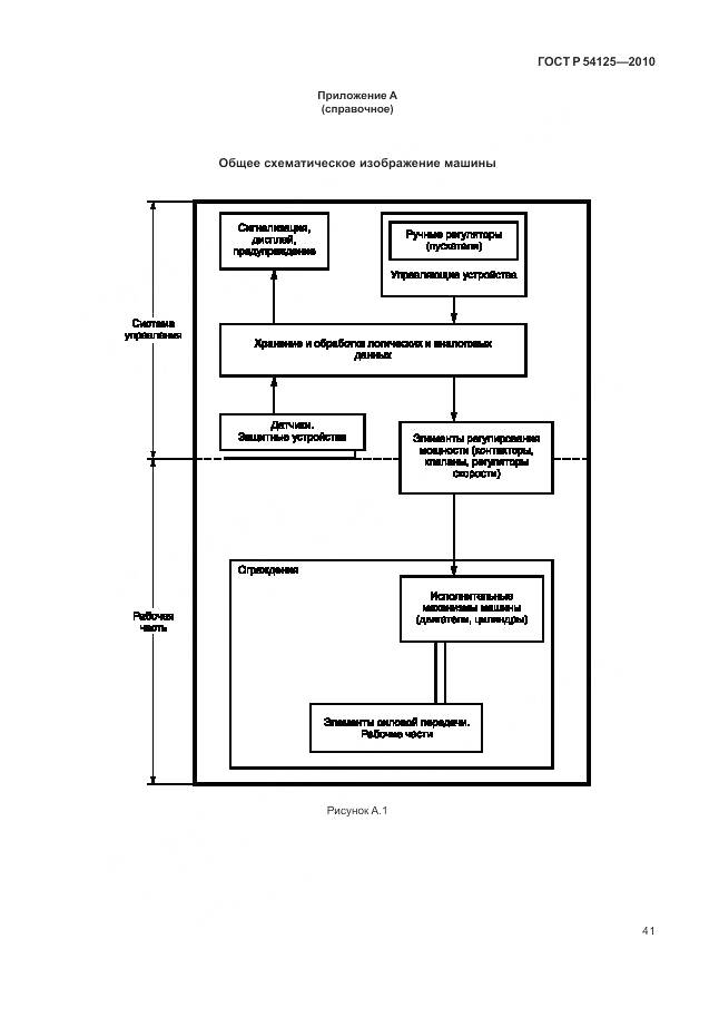
Настоящий стандарт определяет основные термины и устанавливает методы и принципы оценки и снижения риска, помогающие конструкторам обеспечить безопасность машин. Эти принципы основаны на знаниях и опыте, полученных в результате конструирования, использования машин и оборудования, анализа их неполадок, несчастных случаев и рисков, связанных с эксплуатацией механизмов; они являются основой для оценки и устранения потенциальной опасности или снижения риска ее возникновения на протяжении всего срока эксплуатации машины. Предполагается использовать настоящий стандарт как основу для разработки стандартов типа В или типа С. Положения настоящего стандарта должны учитываться конструкторами. В настоящем стандарте не рассматриваются вопросы, связанные с безопасностью домашних животных, нанесением ущерба имуществу или окружающей среде. Настоящий стандарт дает руководящие принципы, касающиеся информации, необходимой для выполнения оценки риска. Описаны процедуры идентификации факторов опасности и оценки риска. Настоящий стандарт обеспечивает руководящие принципы, касающиеся решений, которые необходимо принять для обеспечения безопасности оборудования, и типа документации, требуемой для проверки выполненной оценки риска и принятых мер по снижению риска
Ключевые слова документа:
анализ риска, принципы обеспечения безопасности, проектирование, риск, руководство по эксплуатации, требования к безопасности

Скачать ГОСТ Р 54125-2010 вы можете в следующих версиях:

Тип файла:
Дата добавления:
Загрузок:
Размер:
Тип файла:
PDF с изображениями
Добавлен:
21/11/2025 10:16
Скачиваний:
5
Размер файла:
5.44 Мб
  • ГОСТ Р 54125-2010, страница 1 страница 1
  • ГОСТ Р 54125-2010, страница 2 страница 2
  • ГОСТ Р 54125-2010, страница 3 страница 3
  • ГОСТ Р 54125-2010, страница 4 страница 4
  • ГОСТ Р 54125-2010, страница 5 страница 5
  • ГОСТ Р 54125-2010, страница 6 страница 6
  • ГОСТ Р 54125-2010, страница 7 страница 7
  • ГОСТ Р 54125-2010, страница 8 страница 8
  • ГОСТ Р 54125-2010, страница 9 страница 9
  • ГОСТ Р 54125-2010, страница 10 страница 10
  • ГОСТ Р 54125-2010, страница 11 страница 11
  • ГОСТ Р 54125-2010, страница 12 страница 12
  • ГОСТ Р 54125-2010, страница 13 страница 13
  • ГОСТ Р 54125-2010, страница 14 страница 14
  • ГОСТ Р 54125-2010, страница 15 страница 15
  • ГОСТ Р 54125-2010, страница 16 страница 16
  • ГОСТ Р 54125-2010, страница 17 страница 17
  • ГОСТ Р 54125-2010, страница 18 страница 18
  • ГОСТ Р 54125-2010, страница 19 страница 19
  • ГОСТ Р 54125-2010, страница 20 страница 20
  • ГОСТ Р 54125-2010, страница 21 страница 21
  • ГОСТ Р 54125-2010, страница 22 страница 22
  • ГОСТ Р 54125-2010, страница 23 страница 23
  • ГОСТ Р 54125-2010, страница 24 страница 24
  • ГОСТ Р 54125-2010, страница 25 страница 25
  • ГОСТ Р 54125-2010, страница 26 страница 26
  • ГОСТ Р 54125-2010, страница 27 страница 27
  • ГОСТ Р 54125-2010, страница 28 страница 28
  • ГОСТ Р 54125-2010, страница 29 страница 29
  • ГОСТ Р 54125-2010, страница 30 страница 30
  • ГОСТ Р 54125-2010, страница 31 страница 31
  • ГОСТ Р 54125-2010, страница 32 страница 32
  • ГОСТ Р 54125-2010, страница 33 страница 33
  • ГОСТ Р 54125-2010, страница 34 страница 34
  • ГОСТ Р 54125-2010, страница 35 страница 35
  • ГОСТ Р 54125-2010, страница 36 страница 36
  • ГОСТ Р 54125-2010, страница 37 страница 37
  • ГОСТ Р 54125-2010, страница 38 страница 38
  • ГОСТ Р 54125-2010, страница 39 страница 39
  • ГОСТ Р 54125-2010, страница 40 страница 40
  • ГОСТ Р 54125-2010, страница 41 страница 41
  • ГОСТ Р 54125-2010, страница 42 страница 42
  • ГОСТ Р 54125-2010, страница 43 страница 43
  • ГОСТ Р 54125-2010, страница 44 страница 44
  • ГОСТ Р 54125-2010, страница 45 страница 45
  • ГОСТ Р 54125-2010, страница 46 страница 46
  • ГОСТ Р 54125-2010, страница 47 страница 47
  • ГОСТ Р 54125-2010, страница 48 страница 48
  • ГОСТ Р 54125-2010, страница 49 страница 49
  • ГОСТ Р 54125-2010, страница 50 страница 50
  • ГОСТ Р 54125-2010, страница 51 страница 51
  • ГОСТ Р 54125-2010, страница 52 страница 52
  • ГОСТ Р 54125-2010, страница 53 страница 53
  • ГОСТ Р 54125-2010, страница 54 страница 54
  • ГОСТ Р 54125-2010, страница 55 страница 55
  • ГОСТ Р 54125-2010, страница 56 страница 56
  • ГОСТ Р 54125-2010, страница 57 страница 57
  • ГОСТ Р 54125-2010, страница 58 страница 58