ГОСТ ISO 5355-2014 Обувь. Ботинки горнолыжные. Общие требования и методы испытаний

Категории ГОСТ ISO 5355-2014 по ОКС:
Статус документа:
действует, введён в действие 01.01.2016
Название на английском языке:
Footwear. Alpine ski-boots. General requirements and methods of tests
Дата актуализации информации по стандарту:
17.09.2019, в 21:31 (более года назад)
Вид стандарта:
Стандарты на методы контроля
Дата начала действия ГОСТа:
2016-01-01
Дата последнего издания документа:
2015-03-03
Число страниц:
36
Назначение ГОСТ ISO 5355-2014:
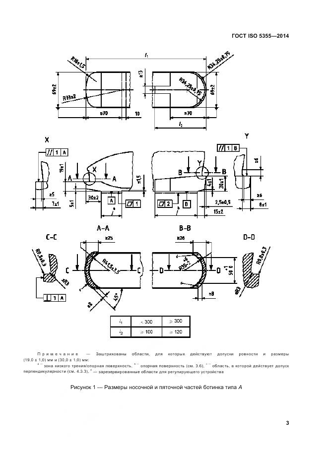
Настоящий стандарт устанавливает общие требования к лыжным ботинкам, используемым вместе с распространенными системами горнолыжных креплений путем присоединения к ним носка и пятки ботинка, определяет правила их маркировки и методы испытаний. Степень безопасности и надлежащее функционирование крепления при его размыкании зависит от размеров и конструкции контактной зоны подошвы ботинка. Для систем лыжных креплений, функционирование которых не зависит от формы подошвы или которые предъявляют особые требования к ее размерам, соответствие подошв лыжных ботинок требованиям настоящего стандарта для обеспечения необходимой степени безопасности не является обязательным. Настоящий стандарт распространяется на лыжные ботинки, начиная с размера 15,0 [типов А (для взрослых) и С (для детей)] по системе «Мондопойнт»
Документ разработан орг-ей:
Федеральное агентство по техническому регулированию и метрологии (Росстандарт)
Документ принят орг-ей:
Межгосударственный Совет по стандартизации метрологии и сертификации, протокол №73-П
Ключевые слова документа:
ботинки горнолыжные, конструкция, лыжное крепление, маркировка, методы испытаний, обувь, размеры, требования
Нормативные ссылки, связанные с ГОСТ ISO 5355-2014:

Скачать ГОСТ ISO 5355-2014 вы можете в следующих версиях:

Дата добавления:
Тип файла:
Загрузок:
Размер:
23/01/2016 17:55
PDF с изображениями
0
0.88 Мб

Текст стандарта

  • ГОСТ ISO 5355-2014, страница 1 страница 1
  • ГОСТ ISO 5355-2014, страница 2 страница 2
  • ГОСТ ISO 5355-2014, страница 3 страница 3
  • ГОСТ ISO 5355-2014, страница 4 страница 4
  • ГОСТ ISO 5355-2014, страница 5 страница 5
  • ГОСТ ISO 5355-2014, страница 6 страница 6
  • ГОСТ ISO 5355-2014, страница 7 страница 7
  • ГОСТ ISO 5355-2014, страница 8 страница 8
  • ГОСТ ISO 5355-2014, страница 9 страница 9
  • ГОСТ ISO 5355-2014, страница 10 страница 10
  • ГОСТ ISO 5355-2014, страница 11 страница 11
  • ГОСТ ISO 5355-2014, страница 12 страница 12
  • ГОСТ ISO 5355-2014, страница 13 страница 13
  • ГОСТ ISO 5355-2014, страница 14 страница 14
  • ГОСТ ISO 5355-2014, страница 15 страница 15
  • ГОСТ ISO 5355-2014, страница 16 страница 16
  • ГОСТ ISO 5355-2014, страница 17 страница 17
  • ГОСТ ISO 5355-2014, страница 18 страница 18
  • ГОСТ ISO 5355-2014, страница 19 страница 19
  • ГОСТ ISO 5355-2014, страница 20 страница 20
  • ГОСТ ISO 5355-2014, страница 21 страница 21
  • ГОСТ ISO 5355-2014, страница 22 страница 22
  • ГОСТ ISO 5355-2014, страница 23 страница 23
  • ГОСТ ISO 5355-2014, страница 24 страница 24
  • ГОСТ ISO 5355-2014, страница 25 страница 25
  • ГОСТ ISO 5355-2014, страница 26 страница 26
  • ГОСТ ISO 5355-2014, страница 27 страница 27
  • ГОСТ ISO 5355-2014, страница 28 страница 28
  • ГОСТ ISO 5355-2014, страница 29 страница 29
  • ГОСТ ISO 5355-2014, страница 30 страница 30
  • ГОСТ ISO 5355-2014, страница 31 страница 31
  • ГОСТ ISO 5355-2014, страница 32 страница 32
  • ГОСТ ISO 5355-2014, страница 33 страница 33
  • ГОСТ ISO 5355-2014, страница 34 страница 34
  • ГОСТ ISO 5355-2014, страница 35 страница 35
  • ГОСТ ISO 5355-2014, страница 36 страница 36