ГОСТ 32654-2014 Композиты полимерные. Термореактивные препреги и премиксы. Определение характеристик отверждения

Категории ГОСТ 32654-2014 по ОКС:
Статус документа:
действует, введён в действие 01.09.2015
Название на английском языке:
Polymer composites. Thermosetting prepregs and premixes. Determination of cure characteristics
Дата актуализации информации по стандарту:
17.09.2019, в 11:33 (более года назад)
Вид стандарта:
Стандарты на методы контроля
Дата начала действия ГОСТа:
2015-09-01
Дата последнего издания документа:
2014-11-01
Число страниц:
20
Назначение ГОСТ 32654-2014:
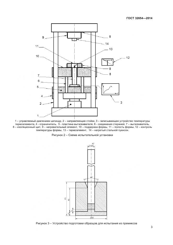
Настоящий стандарт распространяется на термореактивные препреги и премиксы и устанавливает методы определения следующих характеристик отверждения: - реакционная способность; - время отверждения; - тепловое расширение; - реакционная усадка; - результирующее изменение объема. Установлены два метода определения: I и II. Метод I применяют для определения реакционной способности препрегов и премиксов. Метод II применяют для определения времени отверждения, теплового расширения, реакционной усадки и результирующего изменения объема препрегов и премиксов
Документ разработан орг-ей:
Федеральное агентство по техническому регулированию и метрологии (Росстандарт)
Документ принят орг-ей:
Межгосударственный Совет по стандартизации метрологии и сертификации, протокол №65-П
Ключевые слова документа:
полимерные композиты, премиксы, препреги, протокол испытания, сущность методов, характеристики отверждения
Нормативные ссылки, связанные с ГОСТ 32654-2014:

Скачать ГОСТ 32654-2014 вы можете в следующих версиях:

Дата добавления:
Тип файла:
Загрузок:
Размер:
23/01/2016 18:10
PDF с изображениями
0
0.73 Мб

Текст стандарта

  • ГОСТ 32654-2014, страница 1 страница 1
  • ГОСТ 32654-2014, страница 2 страница 2
  • ГОСТ 32654-2014, страница 3 страница 3
  • ГОСТ 32654-2014, страница 4 страница 4
  • ГОСТ 32654-2014, страница 5 страница 5
  • ГОСТ 32654-2014, страница 6 страница 6
  • ГОСТ 32654-2014, страница 7 страница 7
  • ГОСТ 32654-2014, страница 8 страница 8
  • ГОСТ 32654-2014, страница 9 страница 9
  • ГОСТ 32654-2014, страница 10 страница 10
  • ГОСТ 32654-2014, страница 11 страница 11
  • ГОСТ 32654-2014, страница 12 страница 12
  • ГОСТ 32654-2014, страница 13 страница 13
  • ГОСТ 32654-2014, страница 14 страница 14
  • ГОСТ 32654-2014, страница 15 страница 15
  • ГОСТ 32654-2014, страница 16 страница 16
  • ГОСТ 32654-2014, страница 17 страница 17
  • ГОСТ 32654-2014, страница 18 страница 18
  • ГОСТ 32654-2014, страница 19 страница 19
  • ГОСТ 32654-2014, страница 20 страница 20