ГОСТ EN 1854-2008

Категории ГОСТ EN 1854-2008 по ОКС:
Статус документа:
действует, введён в действие 01.07.2022
Название на английском языке:
Pressure sensing devices for gas burners and gas burning appliances
Дата актуализации информации по стандарту:
05.08.2025, в 15:46 (менее 3 месяцев назад)
Вид стандарта:
временно не известен
Дата начала действия ГОСТа:
2022-07-01
Число страниц:
28
Назначение ГОСТ EN 1854-2008:
не указано
Нормативные ссылки, связанные с ГОСТ EN 1854-2008:

Скачать ГОСТ EN 1854-2008 вы можете в следующих версиях:

В данный момент версий документа для скачивания не добавлено.

Мы стараемся пополнять базу документов еженедельно и из разных источников, в обозримом будущем версии для этого ГОСТа появятся.

Вы можете просмотреть online текст стандарта ГОСТ EN 1854-2008

Просмотреть текст ГОСТ EN 1854-2008

Текст стандарта

  • ГОСТ EN 1854-2008, страница 1 страница 1
  • ГОСТ EN 1854-2008, страница 2 страница 2
  • ГОСТ EN 1854-2008, страница 3 страница 3
  • ГОСТ EN 1854-2008, страница 4 страница 4
  • ГОСТ EN 1854-2008, страница 5 страница 5
  • ГОСТ EN 1854-2008, страница 6 страница 6
  • ГОСТ EN 1854-2008, страница 7 страница 7
  • ГОСТ EN 1854-2008, страница 8 страница 8
  • ГОСТ EN 1854-2008, страница 9 страница 9
  • ГОСТ EN 1854-2008, страница 10 страница 10
  • ГОСТ EN 1854-2008, страница 11 страница 11
  • ГОСТ EN 1854-2008, страница 12 страница 12
  • ГОСТ EN 1854-2008, страница 13 страница 13
  • ГОСТ EN 1854-2008, страница 14 страница 14
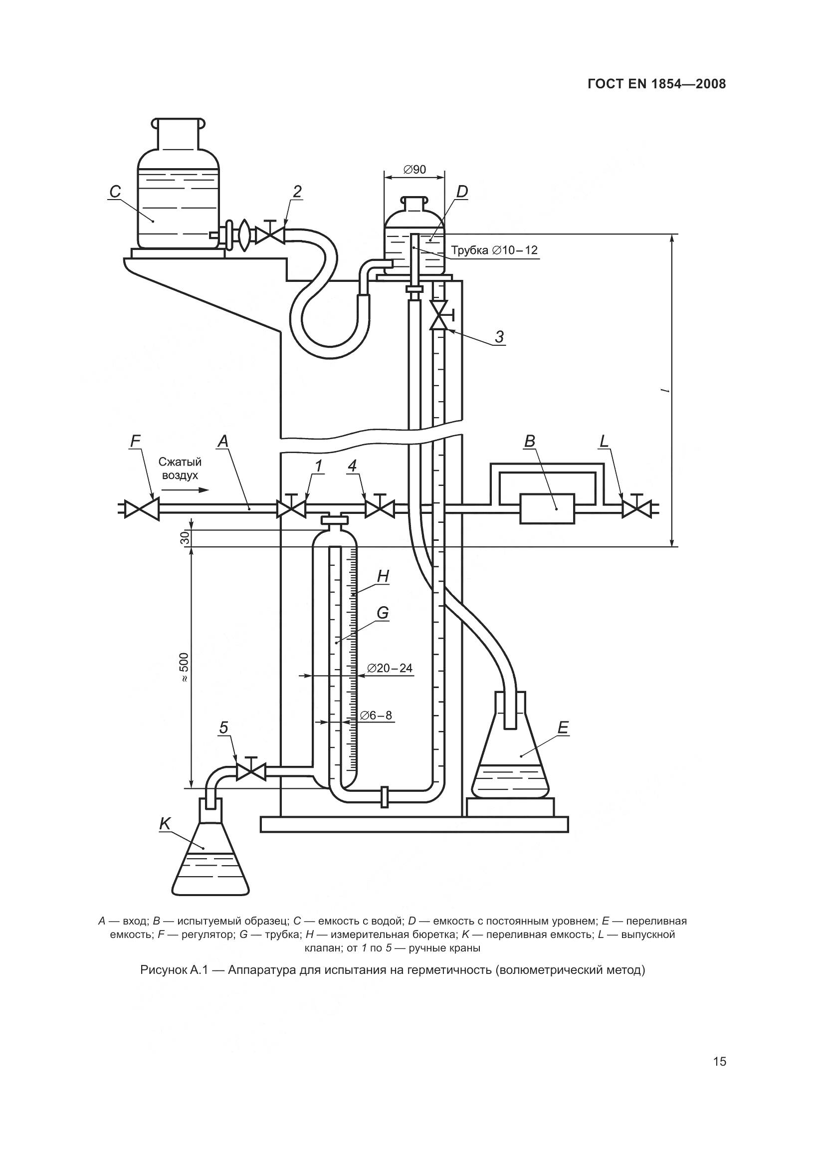
  • ГОСТ EN 1854-2008, страница 15 страница 15
  • ГОСТ EN 1854-2008, страница 16 страница 16
  • ГОСТ EN 1854-2008, страница 17 страница 17
  • ГОСТ EN 1854-2008, страница 18 страница 18
  • ГОСТ EN 1854-2008, страница 19 страница 19
  • ГОСТ EN 1854-2008, страница 20 страница 20
  • ГОСТ EN 1854-2008, страница 21 страница 21
  • ГОСТ EN 1854-2008, страница 22 страница 22
  • ГОСТ EN 1854-2008, страница 23 страница 23
  • ГОСТ EN 1854-2008, страница 24 страница 24
  • ГОСТ EN 1854-2008, страница 25 страница 25
  • ГОСТ EN 1854-2008, страница 26 страница 26
  • ГОСТ EN 1854-2008, страница 27 страница 27
  • ГОСТ EN 1854-2008, страница 28 страница 28