ГОСТ Р ИСО 17907-2022 Суда и морские технологии. Элементы якорно-швартовного устройства, применяемые при одноточечной швартовке танкера. Технические требования и методы испытаний

Категории ГОСТ Р ИСО 17907-2022 по ОКС:
Статус документа:
действует, введён в действие 01.06.2023
Название на английском языке:
Ships and marine technology. Single point mooring arrangements for conventional tanker. Technical requirements and test methods
Дата актуализации информации по стандарту:
16.08.2025, в 13:42 (менее 3 месяцев назад)
Вид стандарта:
временно не известен
Дата начала действия ГОСТа:
2023-06-01
Число страниц:
16
Назначение ГОСТ Р ИСО 17907-2022:
не указано
Нормативные ссылки, связанные с ГОСТ Р ИСО 17907-2022:

Скачать ГОСТ Р ИСО 17907-2022 вы можете в следующих версиях:

В данный момент версий документа для скачивания не добавлено.

Мы стараемся пополнять базу документов еженедельно и из разных источников, в обозримом будущем версии для этого ГОСТа появятся.

Вы можете просмотреть online текст стандарта ГОСТ Р ИСО 17907-2022

Просмотреть текст ГОСТ Р ИСО 17907-2022

Текст стандарта

  • ГОСТ Р ИСО 17907-2022, страница 1 страница 1
  • ГОСТ Р ИСО 17907-2022, страница 2 страница 2
  • ГОСТ Р ИСО 17907-2022, страница 3 страница 3
  • ГОСТ Р ИСО 17907-2022, страница 4 страница 4
  • ГОСТ Р ИСО 17907-2022, страница 5 страница 5
  • ГОСТ Р ИСО 17907-2022, страница 6 страница 6
  • ГОСТ Р ИСО 17907-2022, страница 7 страница 7
  • ГОСТ Р ИСО 17907-2022, страница 8 страница 8
  • ГОСТ Р ИСО 17907-2022, страница 9 страница 9
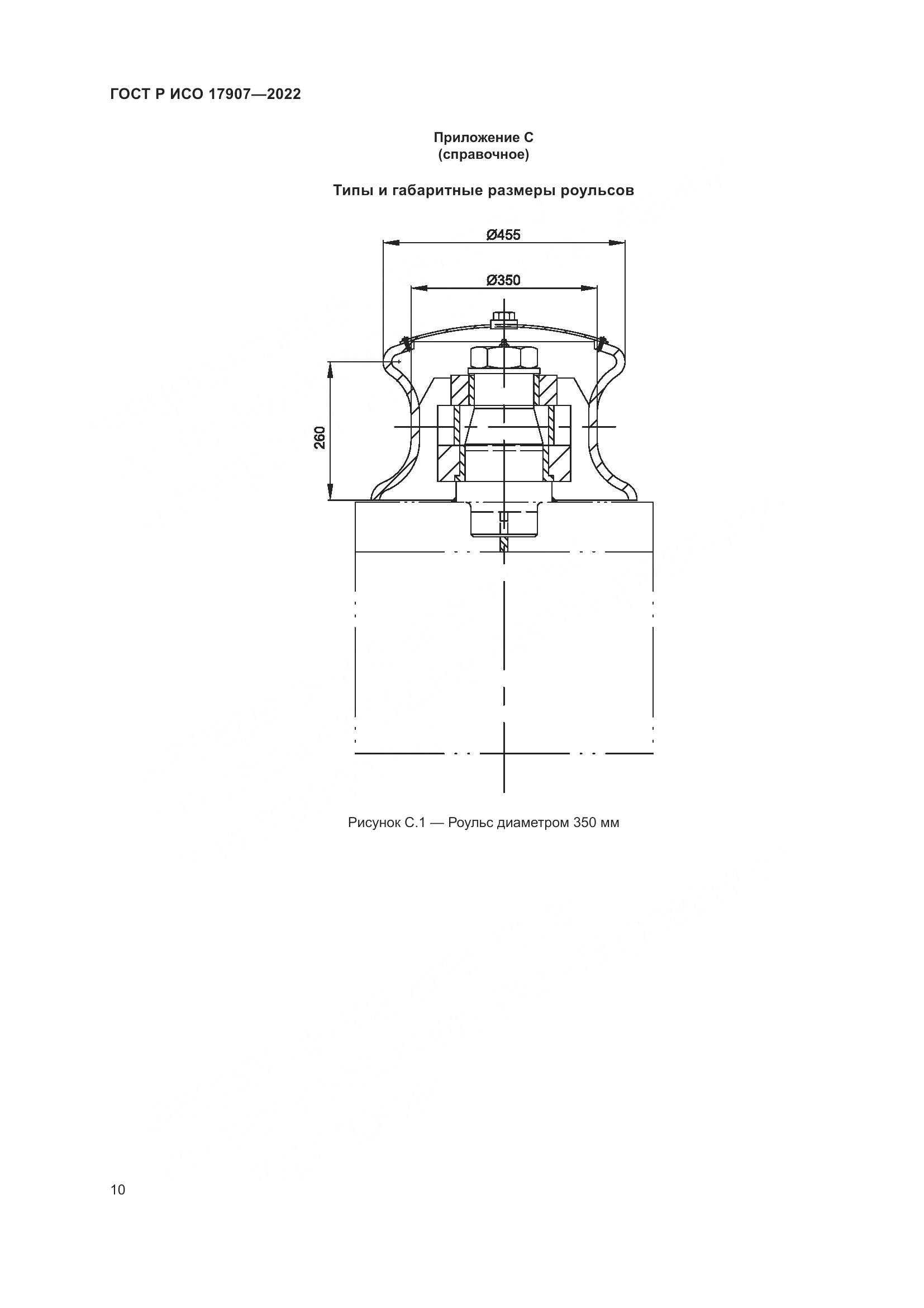
  • ГОСТ Р ИСО 17907-2022, страница 10 страница 10
  • ГОСТ Р ИСО 17907-2022, страница 11 страница 11
  • ГОСТ Р ИСО 17907-2022, страница 12 страница 12
  • ГОСТ Р ИСО 17907-2022, страница 13 страница 13
  • ГОСТ Р ИСО 17907-2022, страница 14 страница 14
  • ГОСТ Р ИСО 17907-2022, страница 15 страница 15
  • ГОСТ Р ИСО 17907-2022, страница 16 страница 16