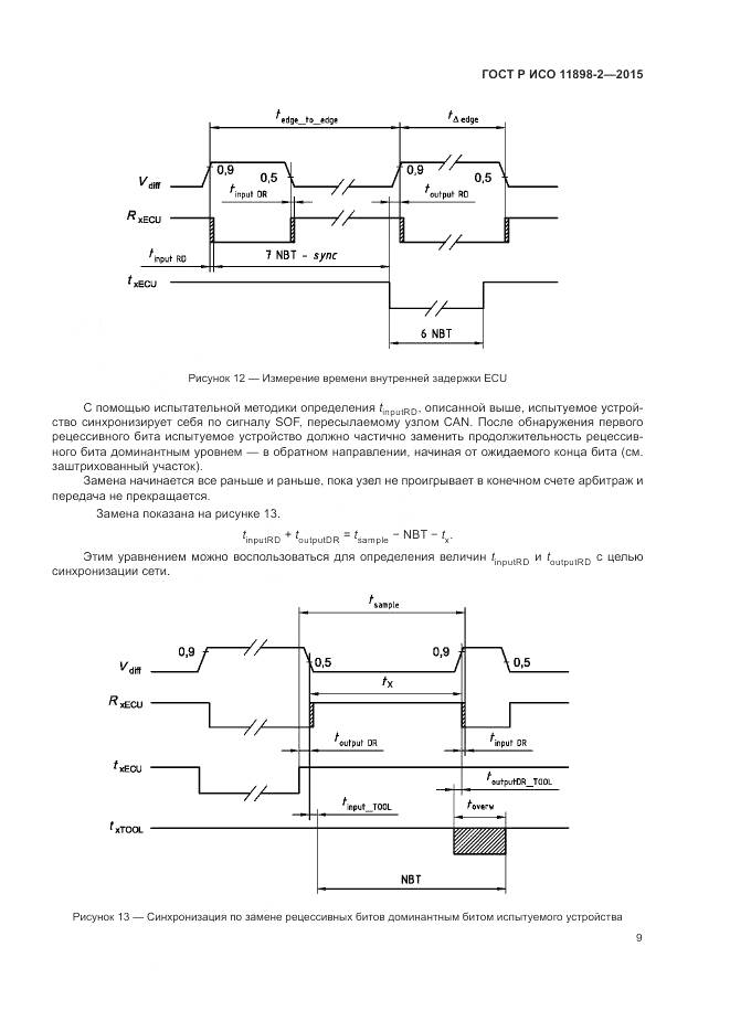
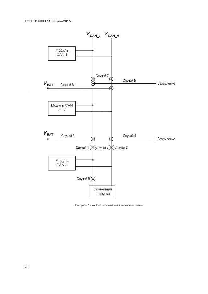
ГОСТ Р ИСО 11898-2-2015 Транспорт дорожный. Местная контроллерная сеть (CAN). Часть 2. Устройство доступа к высокоскоростной среде

Категории ГОСТ Р ИСО 11898-2-2015 по ОКС:
Статус документа:
действует, введён в действие 01.08.2016
Название на английском языке:
Road vehicles. Controller area network (CAN). Part 2. High-speed medium access unit
Дата актуализации информации по стандарту:
23.10.2025, в 11:18 (менее полугода назад)
Вид стандарта:
временно не известен
Дата начала действия ГОСТа:
2016-08-01
Число страниц:
28
Назначение ГОСТ Р ИСО 11898-2-2015:
не указано

Скачать ГОСТ Р ИСО 11898-2-2015 вы можете в следующих версиях:

Тип файла:
Дата добавления:
Загрузок:
Размер:
Тип файла:
PDF с изображениями
Добавлен:
20/11/2025 15:35
Скачиваний:
36
Размер файла:
1.6 Мб
  • ГОСТ Р ИСО 11898-2-2015, страница 1 страница 1
  • ГОСТ Р ИСО 11898-2-2015, страница 2 страница 2
  • ГОСТ Р ИСО 11898-2-2015, страница 3 страница 3
  • ГОСТ Р ИСО 11898-2-2015, страница 4 страница 4
  • ГОСТ Р ИСО 11898-2-2015, страница 5 страница 5
  • ГОСТ Р ИСО 11898-2-2015, страница 6 страница 6
  • ГОСТ Р ИСО 11898-2-2015, страница 7 страница 7
  • ГОСТ Р ИСО 11898-2-2015, страница 8 страница 8
  • ГОСТ Р ИСО 11898-2-2015, страница 9 страница 9
  • ГОСТ Р ИСО 11898-2-2015, страница 10 страница 10
  • ГОСТ Р ИСО 11898-2-2015, страница 11 страница 11
  • ГОСТ Р ИСО 11898-2-2015, страница 12 страница 12
  • ГОСТ Р ИСО 11898-2-2015, страница 13 страница 13
  • ГОСТ Р ИСО 11898-2-2015, страница 14 страница 14
  • ГОСТ Р ИСО 11898-2-2015, страница 15 страница 15
  • ГОСТ Р ИСО 11898-2-2015, страница 16 страница 16
  • ГОСТ Р ИСО 11898-2-2015, страница 17 страница 17
  • ГОСТ Р ИСО 11898-2-2015, страница 18 страница 18
  • ГОСТ Р ИСО 11898-2-2015, страница 19 страница 19
  • ГОСТ Р ИСО 11898-2-2015, страница 20 страница 20
  • ГОСТ Р ИСО 11898-2-2015, страница 21 страница 21
  • ГОСТ Р ИСО 11898-2-2015, страница 22 страница 22
  • ГОСТ Р ИСО 11898-2-2015, страница 23 страница 23
  • ГОСТ Р ИСО 11898-2-2015, страница 24 страница 24
  • ГОСТ Р ИСО 11898-2-2015, страница 25 страница 25
  • ГОСТ Р ИСО 11898-2-2015, страница 26 страница 26
  • ГОСТ Р ИСО 11898-2-2015, страница 27 страница 27
  • ГОСТ Р ИСО 11898-2-2015, страница 28 страница 28